发布日期:2026-04-10 09:27 点击次数:125


车东西(公众号:chedongxi)
作家 | 张睿
裁剪 | 志豪
抢在北京车展前,4月工信部“车展”来了!

▲工信部第406批《谈路灵活车辆坐褥企业及居品公告》新址品公示部分重心车型
车东西4月10日音问,就在昨晚,国度工信部发布了第406批《谈路灵活车辆坐褥企业及居品公告》,其中有多款重心品牌的热点车型。

▲工信部发布第406批《谈路灵活车辆坐褥企业及居品公告》
本次工信部“车展”依然看点全齐,多款重磅新车齐是初度亮相,车东西在进程详备的梳理之后,选出了以下重磅新车型:
1、小米YU7新版块:这次小米YU7陈述了一个整备质料轻松115kg的版块,可能是接收了更小的电板,或是雷军曾提到的续航620km的小米YU7初学版块,按照现金小米YU7初学版块25.35万元的售价来看,这个新版块的小米YU7售价可能会来到24万元把握。
2、小鹏L03:小鹏MONA家眷的SUV车型,车长与轴距与M03较为接近。
3、理念念L8 Livis:理念念L8的改款车型,车长与轴距均增长,定位调动为旗舰五座SUV,将于第三季度开启请托。
4、启境GT7:华为第一“境”的首款车型参数曝光,车长超5米,轴距达3米,将于北京车展上公开亮相。
5、良马iX3:良马“新世代”车型国内首秀,这次陈述了纯电版块,将搭载与Momenta调和的缓助驾驶系统,将于北京海外车展讲求亮相。
此外,这次工信部目次中还有新款零跑C16、新款零跑C10等繁多重磅车型,举座上来看这次工信部目次公示的车型具备很强的竞争力。
参加2026年第四个月,本年第一季度的汽车阛阓相对较为冷清牛牛游戏app,而车企们为了在本年后续的竞争中发力,纷繁推出重磅车型,本次工信部“车展”也为车圈接下来愈加强烈的竞争拉开了序幕。
一、小米YU7陈述新版块 或为电板容量更小版块
诚然不是全新车型,但小米YU7出当今了这次工信部目次中,与也曾上市的车型中枢变化是整备质料变为2200kg,较现金小米YU7后驱版的2315kg着落了115kg。

▲出当今这次工信部目次中的小米YU7车身尺寸等信息
从能源系统来看,这次工信部目次中的小米YU7与现金小米YU7后驱版辩论,电板为来自宁德期间的磷酸铁锂电板

▲出当今这次工信部目次中的小米YU7能源系统信息
分量的镌汰可能是诠释这个版块是电板容量更小一些的小米YU7车型,小米创办东谈主、董事长兼CEO雷军曾提到过,小米YU7在上市前决定取消了续航为620km的版块,将续航为835km、售价25.35万元的版块当作初学版块。
而能源电板当作整车较贵的零部件,要是这次出当今这次工信部目次中的小米YU7果真是电板容量更小续航较短的版块,售价可能会镌汰至24万元把握。
二、小鹏MONA SUV亮相 轴距与M03较为接近
小鹏“MONA家眷”的首款SUV来了!
一款尾标为“小鹏L03”的车型出当今了这次工信部公示中,从外不雅来看,牛牛游戏其应该是小鹏MONA M03的SUV版“兄弟车型”。

▲小鹏L03外不雅
具体来看,小鹏L03延续了小鹏MONA家眷的的缠绵言语,同期不错看到接收了半荫藏式门把手的缠绵,尾部接收了鸠合式尾灯。

▲小鹏L03尾部
车身尺寸方面,小鹏L03的长宽高区分为4650(4672)/1920/1600mm,轴距为2850mm,座位数为5座。当作参考,现金小鹏MONA M03的车身长宽高区分为4780/1869/1445mm,轴距为2815mm,不错看到小鹏L03车长与轴距与M03较为接近。

▲小鹏L03车身尺寸等信息
能源方面,小鹏L03这次陈述了纯电单电机版,初始电机峰值功率为183kW(约合248匹马力)。

▲小鹏L03能源系统信息
电板方面,这次公示自满小鹏L03接收了磷酸铁锂电板,储能安装单体和总成坐褥企业为中改进航科技集团股份有限公司。
三、新款理念念L8调动为五座SUV 将于第三季度开启请托
理念念新款L8亮相,定位调动为旗舰五座SUV。
一款尾标为“理念念L8 Livis”的车型出当今了这次工信部公示中。

▲理念念L8 Livis外不雅
外不雅方面,理念念L8 Livis接收了理念念汽车家眷式的缠绵言语,车顶搭载了激光雷达,侧面接收了半荫藏式门把手的缠绵,尾部接收了鸠合式尾灯的缠绵,牛牛app还不错看到有双色车身版块可选。

▲理念念L8 Livis尾部
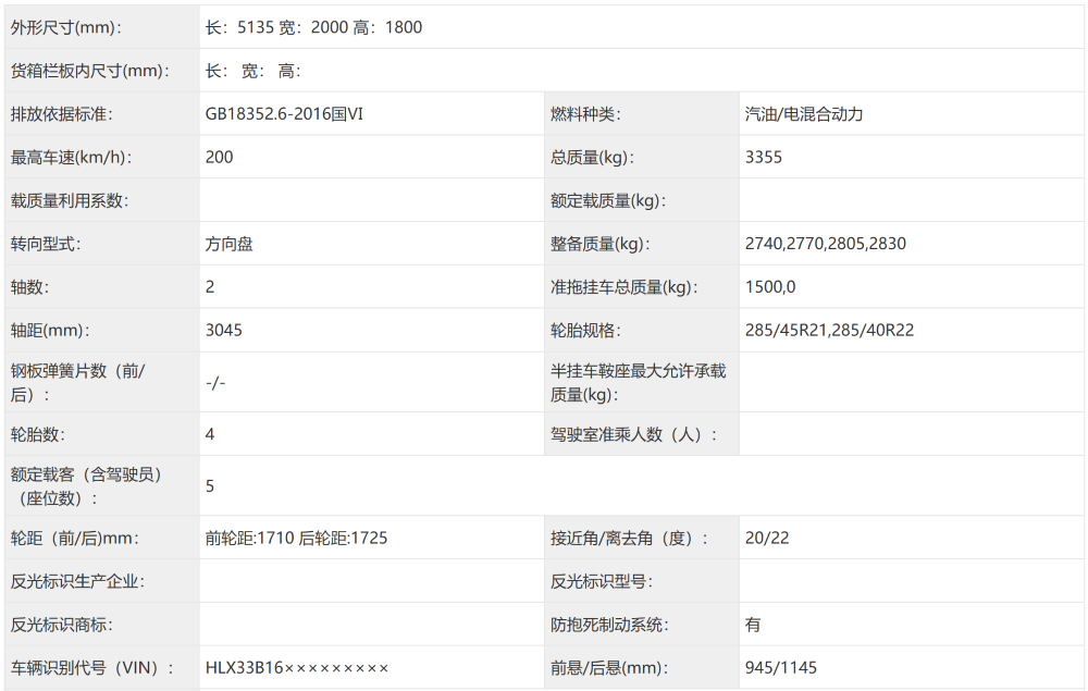
车身尺寸方面,理念念L8 Livis的长宽高区分为5135/2000/1800mm,轴距为3045mm,座位数为5座。当作对比,现金理念念L8的车身长宽高区分为5080/1995/1800mm,轴距为3005mm,座位数为6座,不错看到理念念L8 Livis的车长增多了55mm,车宽增多了5mm,轴距增多了40mm。

▲理念念L8 Livis车身尺寸等信息
能源方面,理念念L8 Livis搭载排量为1.5L的增程器,最大功率为115kW(约合156匹马力),初始电机的信息则莫得在公示中默契。

▲理念念L8 Livis能源系统信息
电板方面,这次公示自满理念念L8 Livis接收了三元锂电板,储能安装单体坐褥企业为欣旺达能源科技股份有限公司,储能安装总成坐褥企业为江苏理念念汽车电板有限公司。
在工信部公示后,理念念汽车居品线负责东谈主汤靖在酬酢媒体发文,梳理的理念念汽车L系列明天的居品矩阵,不错看到理念念L8由此前的6座车型调动为旗舰五座SUV,此前为5座车型的理念念L7调动为高端六座SUV。

▲理念念汽车居品线负责东谈主汤靖在酬酢媒体发文
此外,汤靖还提到全新理念念L8意见是“将良马X5M的默契性能与迈巴赫GLS的空间体验集于零丁”,将于第三季度开启请托。
四、华为第一“境”首车详备参数曝光 将于北京车展上公开亮相
华为第一“境”的首款车型参数曝光。
此前也曾官方亮相过的启境GT7也出当今了这次工信部公示中,此前启境官方暗示该车将在本年4月进店,并在2026年北京车展上公开亮相。

▲启境GT7外不雅
从外不雅上看,启境GT7接收了猎装轿跑缠绵言语,前脸接收阻塞式格栅,车顶搭载了激光雷达,侧面接收了半荫藏式门把手的缠绵,尾部接收了鸠合式尾灯的缠绵。

▲启境GT7尾部
车身尺寸方面,启境GT7的长宽高区分为5050/1980/1470mm,轴距为3000mm。

▲启境GT7车身尺寸等信息
能源方面,启境GT7这次陈述了纯电单电机版块,初始电机峰值功率区分为250kW(约合339匹马力)。

▲启境GT7能源系统信息
电板方面,这次公示自满启境GT7区分由接收了三元锂电板和磷酸铁锂电板的版块,其中三元锂电板版块的储能安装单体坐褥企业为期间一汽能源电板有限公司,储能安装总成坐褥企业为广东瑞庆期间新能源科技有限公司;
磷酸铁锂电板版块的储能安装单体坐褥企业为期间上汽能源电板有限公司,储能安装总成坐褥企业为期间广汽能源电板有限公司。
五、良马“新世代”车型国内首秀 搭载与Momenta调和缓助驾驶系统
良马“新世代”车型国内首秀!
良马旗下一款尾标为“iX3”的SUV车型出当今了这次工信部公示中,该车将于2026北京海外车展讲求亮相。

▲良马iX3外不雅
从外不雅上看,良马iX3接收了良马“新世代”的缠绵言语,外不雅较现金有很大不同,同期陈述图中的车型接收了全荫藏式门把手的缠绵。

▲良马iX3尾部
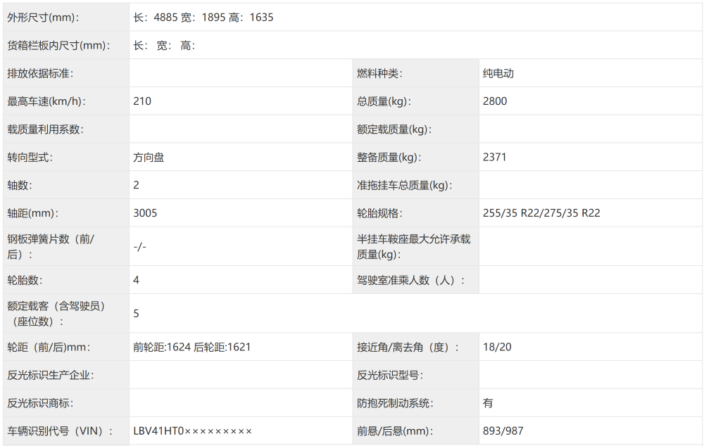
车身尺寸方面,良马iX3的长宽高区分为4885/1895/1635mm,轴距3005mm,座位数为5座。

▲良马iX3车身尺寸等信息
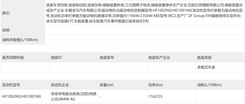
能源方面,良马iX3这次陈述了纯电版块,前/后初始电机峰值功率为116kW(约合157匹马力)/235kW(约合319匹马力)。

▲良马iX3能源系统信息
电板方面,这次公示自满良马iX3接收了三元锂电板,储能安装单体坐褥企业为沈阳亿纬锂能有限公司,储能安装总成坐褥企业为华晨良马汽车有限公司。
而把柄良马方面官方默契,良马iX3将会搭载与Momenta联袂打造的全场景领航缓助驾驶系统。

▲良马中国官方发文
六、零跑多款车型改款 外不雅调动能源增强
零跑汽车也有多个改款车型出当今了这次工信部目次中,新款零跑C16的前脸进行了调动,同期初始电机峰值功率有所普及。

▲新款零跑C16外不雅
新款零跑C10也进行了外不雅调动,初始电机峰值功率一样有所普及。

▲新款零跑C10外不雅
结语:新车大战一触即发
2026年来到第四个月,随即行将迎来2026年北京海外车展,而车企们当然莫得停驻陆续发新车的脚步,这次工信部“车展”就有多款重磅车型亮相。
本年第一季度的汽车阛阓相对较为冷清,但从本次工信部“车展”来看,2026年接下来的中国汽车阛阓的新车大战将会吵杂起来。
开云体育官方网站 - KAIYUN